Technology Patents

US Patent HIGH FREQUENCY GRAVITATIONAL WAVE GENERATOR

US Patent HIGH FREQUENCY GRAVITATIONAL WAVE GEN...

"propagating gravitational field fluctuations are generated when the second electromagnetic field propagates through the first electromagnetic field."

US Patent HIGH FREQUENCY GRAVITATIONAL WAVE GEN...

"propagating gravitational field fluctuations are generated when the second electromagnetic field propagates through the first electromagnetic field."

HIGH FREQUENCY GRAVITATIONAL WAVE GENERATOR

HIGH FREQUENCY GRAVITATIONAL WAVE GENERATOR

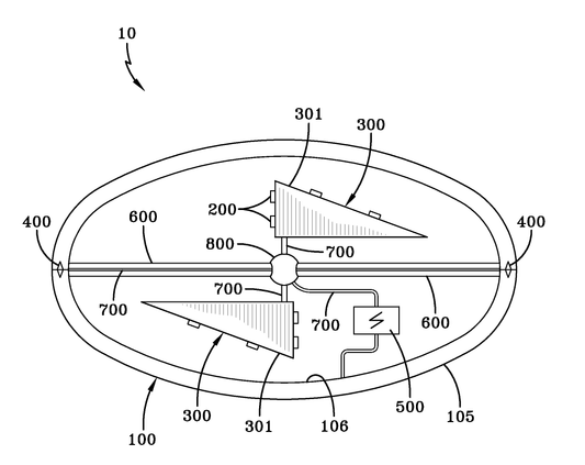
ABSTRACT A high frequency gravitational wave generator including a gas filled shell with an outer shell surface, microwave emitters, sound generators, and acoustic vibration resonant gas-filled cavities. The outer shell...

HIGH FREQUENCY GRAVITATIONAL WAVE GENERATOR

ABSTRACT A high frequency gravitational wave generator including a gas filled shell with an outer shell surface, microwave emitters, sound generators, and acoustic vibration resonant gas-filled cavities. The outer shell...