Engineering Patents

US Patent US 2020/0396876 A1

US Patent US 2020/0396876 A1

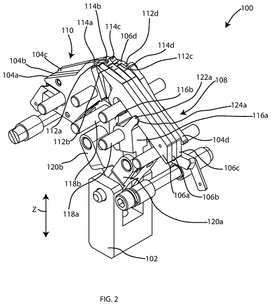
ABSTRACT Disclosed is a clinch mechanism for assembling a printed circuit board with electronic components that includes a drive shaft configured to move along a vertical axis , a stationary...

US Patent US 2020/0396876 A1

ABSTRACT Disclosed is a clinch mechanism for assembling a printed circuit board with electronic components that includes a drive shaft configured to move along a vertical axis , a stationary...

News Under Construction

News Under Construction

Current news and articles on selected topics will appear in this section in the future.

News Under Construction

Current news and articles on selected topics will appear in this section in the future.